详细介绍
ISW型卧式管道离心泵产品概述:
ISW型卧式管道离心泵根据IS型离心泵与立式泵的*结构组合设计,并严格按照国际标准ISO2858和最新的国家管道离心泵标准JB/T53058-93进行设计制造的高效节能产品。该泵采用*水力模型优化设计而成。管道离心泵同时根据使用温度、介质等不同在ISW型基础上派生出热水泵、高温泵、化工泵、油泵等,是目前国家标准定型推广产品。

工作条件:
1、 吸入压力≤1.0Mpa,或泵系统最高工作压力≤1.6Mpa,即泵吸入口压力+泵扬程≤ 1.6Mpa、泵静压试验压力为2.5Mpa,订货时请注明系统工作压力。泵系统工作压力大于 1.6Mpa时应在订货时另行提出。以便在制造时泵的过流部件和联接部分采用铸钢材料。
2、 环境温度<40℃,相对湿度<95%。
3、 所输送介质中固体颗粒体积含量不超过单位体积的0.1%,粒度<0.2mm.
型号意义:

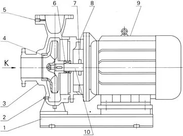
结构图及结构特点:

1底座 2放水孔 3泵体 4叶轮 5取压孔 6机械密封 7挡水圈 8端盖 9电机 10轴
结构特点:
1、运行平稳:泵轴的绝对同心度叶轮优异的动静平衡,保证平稳运行,*振动。
2、滴水不漏:不同材质的硬质合金密封,保证了不同介质输送均无泄漏。
3、噪音低:两个低噪音轴承下的水泵,运转平稳,除电机微弱声响,基本无噪声。
4、故障率低:结构简单合理,关键部分采用配套,整机*工作时间大大提高。
5、维修方便:更换密封、轴承、简易方便。
6、占地更省:出口可向左、向右、向上三个方向,便于管道布置安装,节省空间。
产品咨询
扫一扫 更多精彩
微信二维码
网站二维码