泵的吸入和排出管路的配置要求,目前应该按照GB50275-2010的相关规定。
(1)泵的吸入和排出管路的配置要求:
1)所有与泵连接的管路都应该具备独立、牢固的支承,用来消减管路的振动,同时防止泵承受管路的重量。
2)吸入和排出管路的直径,不应小于泵的入口和出口直径。
3)吸入管路宜短,同时最好减少弯头数量。
4)当使用变径管时,变径管的长度不应小于大小管径差的5-7倍。
5)吸入管路内不应存在窝存气体的地方(图1)。当泵的安装位置高于吸入液面时,吸入管路的所有部分都不应高于泵的入口。水平直管段应有倾斜度(泵的入口处高),并不宜小于5/1000-20/1000。
6)高温管路应设置膨胀节,防止热应力*作用在泵上。
7)工艺流程和检修需要的阀门要按需配置。
8)两台及以上的泵并联时,每台泵的出口均应配置止回阀。

图1 吸入管路正确与不正确安装
1一空气阀2一向水泵下降3一同心变径管4一向水泵上升5一偏心变径管
②泵的安装位置高于吸入液面时,泵的入口直径小于350mm时,应设置底阀;入口直径大于或等于350mm时,应设置真空引水装置。
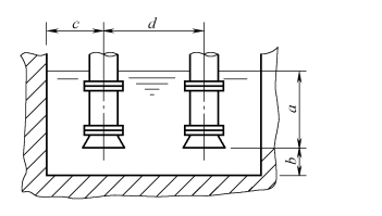
③吸入管口浸入水面下的深度a,不应小于入口直径D的1.5~2倍,且不应小于500mm。吸入管口距池底的距离b,不应小于入口直径D的1~1.5倍,且不应小于500mm。吸入管口中心距池壁的距离c,不应小于入口直径D的1.25-1.5倍;相邻两泵吸入口中心距离d,不应小于入口直径D的2.5~3倍,距离a、b、c、d见图3。

图3 吸入池尺寸
④当吸入管路装置滤网时,滤网的总过流面面积不应小于吸入管口面积的2~3倍。
⑤为了防止滤网堵塞,可在吸水池进口或吸入管周围加设拦污网或拦污栅。
⑥泥浆泵、灰渣泵和砂泵应在倒灌情况下运转。倒灌高度宜为2~3mm,且吸入管宜倾斜30°。
2)泵的排出管路:
①应装设闸阀,其内径不应小于管子内径,旋涡泵还应装设安全阀。
②当扬程大于20m时,应装设止回阀。
3)杂质泵的进出口管路均不应急剧转弯,防止堵塞。
(3)轴流泵和混流泵的管路配置要求
1)水泵入口中心距池壁的距离,应为吸入喇叭管直径D的0.1~1.25倍;吸人管距池底的距离,应为吸入喇叭管直径D的0.7~0.8倍;相邻两泵的吸入口中心之间的距离,不应小于吸入喇叭管直径D的2~2.5倍。
2)排出管路应装设止回阀(或拍门)。泵排出口至止回阀之间应装扩散管,扩散管的长度不应小于大小管径差的5-7倍。
3)蜗壳式混流泵的配管应按离心泵执行。
(4)机动往复泵和蒸汽往复泵的管路配置要求
1)排出管路应装设安全阀。
2)宜在泵入口处设吸入空气室,以提高泵的吸入性能。在泵的出口处可根据需要装设排出空气室,以稳定流量和排出压力。
(5)计量泵的管路配置要求
1)泵宜在倒灌情况下工作,以保证随时可以传动,并保证计量精度。
2)排出管路不宜采用T形配管,防止停泵后由于虹吸作用而降低计量精度。当需要采用T形配管时,应在管的最高点处装设真空破坏阀。
(6)螺杆泵的管路配置要求
1)宜在每台泵的止回阀旁装一个小的回流阀,以预热备用泵。
2)吸入管口应装设过滤器。滤网的规格应根据工作情况和介质确定,可采用40~80目。滤网总过流面面积不得小于进口面积的20倍。
(7)水环式真空泵的管路要求
其调节阀应设置在靠近泵入口的吸入管路上。
当采用水环压缩机时,其调节阀应设在分离器的排出管路上。
扫一扫 更多精彩
微信二维码
网站二维码